Flux V3的跨链借贷 能否解决DeFi的流动性分割?
处在加速迭代中DeFi,正在重新定义金融的未来,不断涌现的创新让我们每天都处在萌新的状态。
但是我们似乎很久没有听到关于去中心化抵押借贷的变革了,它仿佛成为了一成不变的基础设施。
毫无疑问,抵押借贷赛道是一个需求明确且不断增长的赛道,但最新的关于抵押借贷的讨论,还是这两天行情剧烈波动,造成抵押借贷市场的清算量创历史第二高。
不要忘了今天DeFi的火爆正是由去中心化抵押借贷平台Compound的流动性挖矿开启的,而这条赛道的上一轮变革还是杠杆借贷。
借贷——从超额抵押到杠杆
借贷是最基础的刚需,在DeFi领域也不例外。
最早的去中心化借贷是P2P模式的(如Aave的前身ETHLend),但因为撮合效率太低就逐渐退出了。
然后以Compound为代表的AMM模式的超额抵押借贷开始占据主流。
超额抵押借贷的杠杆率虽然不足1,在极端行情下依然会被清算。但是超额抵押借贷在机制上简化了传统金融机构复杂的借贷过程,在释放流动性方面的贡献比Uniswap等DEX更为基础。
超额抵押意味着如果你想获得100美元的DAI,那就需要以价值150美元的ETH作为抵押品,这在资本利用率上无法满足市场的需求。
于是以羊驼为代表的杠杆借贷出现了,极大地提高了借贷的频次和额度,让流动性释放得更加彻底。
杠杆借贷的业务逻辑是同样的抵押物能够撬动更多的资金,但借出的资金只能通过平台的智能合约去其他DEX进行流动性挖矿。也就是说,资金的使用受到平台的严格控制,确保了出借人能够收回资金。
这样借款人(流动性挖矿者)可以撬动更大的本金来获取绝对收益,出借人也可以获得更高的利息,然后DEX当然也获得了更大的流动性。
而且杠杆借贷让挖矿用户可以通过做空和对冲来创建高级策略,而不是必须持有多头头寸来提供流动性,这无疑扩充了原有借贷市场的需求。
从超额抵押借贷到杠杆借贷,整个借贷市场的空间向更纵深处拓展了,但好像至此就是横向拓展。

过去一年抵押借贷市场借款总量增长
Compound尝试推出实验性去中心化稳定币协议Fixed Forex——以完全去中心化的形式抵押铸造基于美元、欧元、日元等的稳定币。
Aave将重点转移到创建可以作为机构和DeFi之间桥梁——Aave Arc,希望能够满足机构对DeFi日益增长的需求。另外也尝试建立一个以太坊版推特,计划于今年年内推出。
另外还出现了一些为NFT提供借贷的新平台。
但就整个DeFi借贷市场的潜力而言,现在还远未充分释放,最大的瓶颈是流动性割裂——流动性被分割在不同的公链生态,极大地限制了DeFi借贷市场的进一步扩张。
Hotpot——让流动性跨链整合
由于流动性被分割在不同的公链上,对使用借贷产品的用户来说非常不便——需要额外进行跨链及兑换的操作,而且过程中会有额外的成本损失。
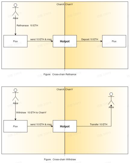
此时去中心化的跨链借贷协议就应时而出。比如刚推出的Flux V3,可以在无损地在BSC、OEC及Heco之间跨链存取以及借贷。

跨链存取
如果存款人不跨链的话,原先的操作是把资金直接从钱包存到Flux协议里。
如果存款人跨链的话,就需要先用跨链桥转到另一条链的钱包里,再用这个钱包进行上一步的操作,且每一步操作都要支付Gas费或手续费。
而Flux V3则省去了这些繁琐的步骤,存款人通过Hotpot就能直接将钱包里的资金跨链存入另一条链的Flux中。
跨链借款
对于借款人而言,如果不跨链的话,原先的步骤是把资金存入Flux,然后再借出另一种资产。
如果跨链的话,也同样要额外操作跨链桥。
但在Flux V3里,借款人通过Hotpot可以直接借出资产到其他链的钱包里。
这里需要强调一下,由于Hotpot的跨链使用的是Flux V1的池子,所以能够无损跨链借贷池的资金,所以可以实现无损跨链。

由此可见,Flux V3的核心组件是Hotpot,这是Flux团队基于Poly而开发的跨链DEX,与市场上其他跨链DEX不同的是,Hotpot是内嵌于Flux协议,让跨链与借贷同步进行。
目前Flux V3采用的是Poly的跨链技术,支持BSC、HECO和OEC之间跨链存取和借贷,第一阶段支持ETH、BTC、USDC、DAI和USDT共5种资产跨链借贷。
这是最主流的加密资产,适用于大多数DeFi场景。后续还可以接入其他跨链桥作为跨链通道,从而整合更多公链和更多资产的流动性。
Flux V3——能否成为加密中央银行?
不少DeFi用户被跨链的繁琐操作以及资金损耗而浇灭了参与头矿的热情,只能望新项目而兴叹。
Flux V3创造性地内嵌了Hotpot这个跨链DEX,让用户分割在不同链上的流动性可以经由Flux快速整合起来,从而去体验更多DeFi产品以及捕获更多利润。
而且Flux V2本身就有杠杆借贷,再加上V3的跨链借贷功能,能让用户的资金效率再次成倍提高。
这也就意味着,Flux可以作为加密世界的中央银行——资金可以跨链来回调用。
当然,单纯的跨链闪兑项目也可以扮演中央银行的角色,但Flux的资金跨链是通过跨链池来实现的,也就可以无损跨链,而且Flux还在跨链闪兑的基础上还提供了借贷及挖矿等围绕流动性的一站式服务。
据Flux官方透露,除了现在已经部署的BSC、HECO和OEC,接下来Flux V3还会继续在新链上部署。
预计第二批将上线Polygon、AVAX和以太坊,然后是基于Rust语言的公链,如Solana以及波卡生态的平行链。
“我们不会错过市场的热度,热度意味着需求,基本哪条链有热度,我们就可以部署在哪条链上。”
除了尽可能多地连接分割了流动性的区块链网络,Flux V3还会尽可能多地支持币种。
目前支持ETH、BTC、USDC、DAI和USDT共5种最主流的资产,接下来会陆续支持FLUX借贷池里的所有资产,Flux V4甚至还会推出小币种借贷。
总之,与那些横向拓展的DeFi借贷平台相比,专注于在借贷领域深耕的Flux率先有了突破。
要知道7月24Compound也宣布要做跨链借贷,但目前产品尚未上线。SushiSwap的社区也提议开发Sushichain来解决各区块链上流动性分割的问题,目前也没有动静。
而Flux V3推出的跨链借贷具有先发优势,很容易形成规模效应,比如在用户粘性、池子深度和资产及公链种类上建立护城河,在短时间内难以被追赶。
郑重声明:本文版权归原作者所有,转载文章仅为传播信息之目的,不构成任何投资建议,如有侵权行为,请第一时间联络我们修改或删除,多谢。
早报 | Lighter 24 小时交易量突破 110 亿美元;Circle Q3 财报公布;Strategy 美股市值跌破其 BTC 持仓价值
整理:ChainCatcher 重要资讯: 币安将停止币安直播平台服务,币安广场将继续提供直播服务...
24H热门币种与要闻 | Sui将推出原生稳定币USDsui;美SEC拟推出基于Howey测试的代币分类法(11月13日)
1、CEX 热门币种 CEX 成交额 Top 10 及 24 小时涨跌幅: BNB -0.78%...
链茶馆
文章数量
101粉丝数
0